Как поправишь спину — сразу решишь все проблемы
«Хотите, чтобы ушла грыжа — добейтесь, чтобы как следует гнулась спина. Даже слово такое — "грыжа" — сразу забудете».
«Замучил простатит? Потому что не помните, когда последний раз извергали семя… Надо это дело поставить на… поток. Природа, как и женщины, не любит больших пауз. В организме все должно постоянно работать».
«Простатит и грыжа — в головах!» (Это заявление не уступает известному булгаковскому афоризму о всеобщей разрухе, которая начинается там же — в головах то есть.)
Цитирую, забегая немного вперед, своего блестящего собеседника — врача-хиропрактика, кудесника по всем вопросам, связанным с болезнями спины и суставов, давнего друга нашего Издательского дома — Юрия Колягина.

Впервые за десятилетия дружбы мы общаемся по скайпу. Обычно доктор Колягин, будучи по своим научным делам в Москве, сам заскакивал в редакцию, рассказывал про что-нибудь новенькое в области медицины, что сам открыл или изобрел, про состояние отечественного здравоохранения. Во время этих встреч нам оставалось только рты изумленно разевать, хотя мы, журналисты, народ, ко многому привычный.
— В веселое время живем. Вирус свободно бродит по планете, а люди, загнанные, сидят по домам, — размышляет Юрий Иванович.
Но вижу: несмотря ни на что, сияет наш врач, чем-то очень довольный. Его радость пробивается через маску. Нет, вакцину от коронавируса он еще не нашел (если ситуация затянется, то этот доктор — уверена — подключится к решению и этой проблемы), зато, как выясняется, получил очередной, пятнадцатый по счету, патент на изобретение для здоровья спины и не только! Страшно подумать, а ведь это 15 открытий в медицине!
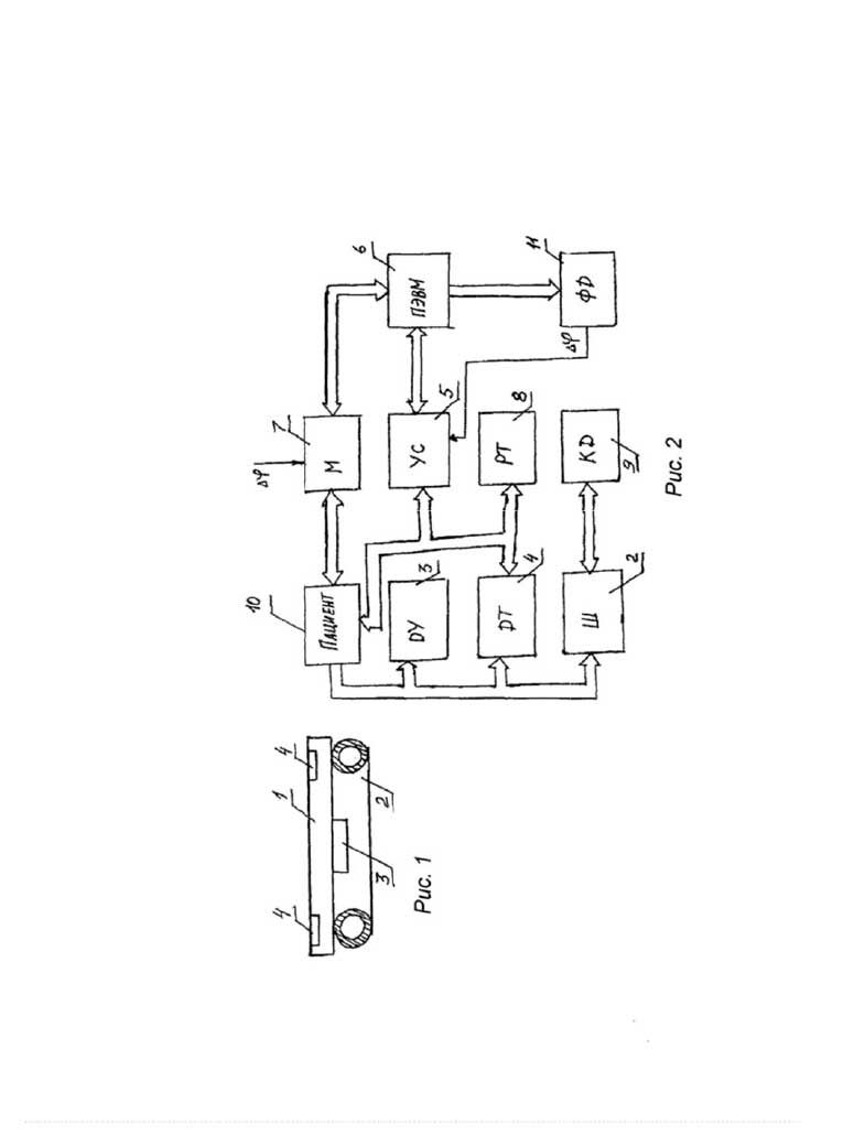
Саму кибернетическую платформу для восстановления постуральных дисфункций доктор Колягин демонстрировал в редакции раньше, и мы о ней писали в предыдущем материале (23.03.20, «Настаиваю — нестабильную кибернетическую платформу в каждый дом!»). Я не поленилась зайти на сайт Роспатента и почитать описание изобретения. И, оказалось, оно того стоит. Смысл платформы — во-первых, находить с максимальной точностью отклонения в функционировании постуральной системы, центральным звеном которой является позвоночник, а во-вторых — помогать это исправлять, а значит, и лечить все подряд, раз позвоночник — основа всему...
— Понимаешь, надо правильно мыслить! Человек — это целостный организм! — объясняет доктор мне, а значит, и всем нам, в большинстве своем не слишком-то ответственным по отношению к собственному здоровью людям. (Мы так легкомысленны, пока жареный петух нас не клюнул, но, бывает, слишком поздно спохватываемся.) — В корне неверно рассматривать какой-то один орган в отрыве от всей системы. Грыжа сама по себе не существует. Простатит тоже не возникает просто так. По всему телу человека тянутся, как провода, скелетные и мышечные связи, опоясывающие и спереди, и сзади, идущие снизу, от самых стоп, далее по задней и передней линиям нижних конечностей к затылку, глазам, челюстям…Так, простое, казалось бы, плоскостопие может быть причиной близорукости. Как правило, все постуральные нарушения носят именно системный характер. И как только устранишь перекосы и асимметрию в хребте, сразу решишь все остальные проблемы — с сердцем, глазами, гинекологией, эндокринной системой и т. д.
В организме все должно функционировать в полной мере, а это возможно, если нет искривлений и защемлений! Нельзя допускать застоя! Простатит — прямой результат застоя. Ответственно заявляю! Добейся регулярного семяизвержения, и будешь здоров, как племенной бык! Если человек довел себя до обострения спины, то он должен знать, что это его собственный «косяк» (он не занимался собой вовремя, когда проблема была вне обострения), и что каждое обострение оставляет конкретный след в спине — в пояснице ли, в шее. И этот след — в виде анатомического дефекта с перекосом в разных плоскостях хребта, причем чем дальше, тем тяжелее его исправить.

Будет ваш позвоночный столб прямехонький и здоровехонький, будет каждый его сегментик работать с правильной частотой и скоростью, грудная клетка развернута, как баян, дыхание не стеснено — никакой вирус не страшен, ему негде будет поселиться. Не за что зацепиться. Органы тоже будут работать исправно, получая с кровью необходимый кислород и питание. Будет неоткуда взяться сердечно-сосудистым патологиям, развиться диабету и прочей «хрони», опасной при «короне» и других инфекциях. Ведь они — следствие как раз скелетно-мышечных нарушений, то есть результат синдрома постурального дефицита (СПД).
Вот такие простые-сложные истины врач-невролог с 36-летним стажем, эксперт в своей области, руководитель хиропрактического Центра в Лазаревском города Сочи, Юрий Колягин, пытается донести до человечества. Кстати, его клиника продолжает функционировать в обычном режиме и в условиях коронавируса. Разумеется, с полным пансионом и соблюдением всех мер предосторожности.
Прямые линии — только в геометрии
— О ровном, как фонарный столб, позвоночнике поголовному большинству человечества, кому больше трех лет от роду, приходится только мечтать, — продолжает ликбез Юрий Колягин. — Хотя немало детей уже и рождаются с постуральными нарушениями. СПД проявляет себя, увы, с самых ранних лет, развивается медленно, но уверенно и, в отличие от коронавируса, наповал поражает не 2% населения, а все 90%. И вот что интересно: педиатры, мамки-няньки видят, что дите криво-косенькое, и не колышутся, не бьют тревогу! А ведь из этого куча проблем потом вылезает, куча! Во Франции тысячи постурологов с населением работают. А у нас — пустыня.
Синдром постурального дефицита имеется у всех. Голова когда-нибудь кружилась? А болит периодически? Знакомо? То-то. Это говорит о том, что тело разбалансировано и ищет свое устойчивое положение в пространстве, чтобы преодолевать силу земного тяготения.
Означает ли это, что на всех можно поставить крест?
Да нет, конечно! Работа постуролога, владеющего хиропрактическими манипуляциями, в комплексе с массажем и специальной гимнастикой многое многим способны исправить.
Диагнозом по голове
— Как у нас принято диагнозы ставить? — горюет доктор Колягин.
Жахнут пациенту по мозгам, спустя короткое время, глядишь, нет человека. А ведь диагноз — не могильный крест. Мы, врачи, обязаны указать пациенту его ресурсы для выхода из ситуации, а не приговаривать человека к безысходности. Внимание положено фиксировать не на анатомии и патоморфологии (как это заведено сейчас), а на том, что и как можно поправить. А ключик-то — в хиропрактике и постурологии.
Однако пока в нашей диагностической медицине с этим делом плоховато. Не умеют описать синдром. В мединститутах этому не учат. Так даже не мыслят и тем более не лечат. Ну, перекосило тебя, ну, вылезла у тебя из-за этого грыжа. Ну, отчекрыжили грыжу. И на этом — гуляй, Вася! Теперь включаем логику: а «перекос»-то остался. И, значит, жди второго круга болей, грыж и операций. Но я каждый день наблюдаю людей после хирургического скальпеля — и вижу, что проблемы не исчезают. Люди принимают нестероидные препараты, дают себя резать. Все без толку. Недавно совсем молодая девчонка приезжала — 29 лет, которой операцию сделали, когда ей было 19. Кошмар! И что?! Думаешь, помогло ей? Постуральный дефект в виде асимметрии и нарушения функции поясницы как был, так и остался.
Неврологи ближе коллег других специальностей подбираются к истине. Констатируют у адски страдающего пациента, например, «корешковый синдром». Это когда между позвонками защемляется нерв, и требуется его освободить, чтобы пациент перестал болеть. Но кто это умеет делать? Не работают у нас руками!
Ни один невролог не способен определить постуральный статус пациента, не может сказать, где произошло роковое нарушение в позвоночнике, под каким углом, в какой из трех осей, не умеет обозначить степень травматизации всего организма. А как лечить вслепую? Никто не знает. И обиднее всего — не хочет знать. Если бы кто спросил — я бы рассказал! Но мало кому интересно! Ко мне часто приезжают коллеги. Я всех спрашиваю: какими исследованиями вы занимаетесь? Делают удивленные глаза. Но как может врач не прорабатывать какую-то тему, не быть любопытным? Надо же посвящать себя профессии, людям… И все вместе и каждый в отдельности мы бы продвигали науку. Профессия обязывает.
Возвращаясь к теме: чтобы определить СПД для конкретного пациента, нужна комплексная и точечная диагностика по многим пунктам.
Важнейший из них — функция конкретной части тела, мышцы или органа. Грубо говоря, надо смотреть, как работают руки-ноги и прочая-прочая, на все ли «сто» выполняют они свою задачу.
Что гнется и поднимается, то не ломается
— Для каждого движения есть своя амплитуда, и скорость, и сила, — терпеливо объясняет Юрий Колягин. — За каждым нашим движением закреплена норма.
Но только ручная и инструментальная диагностика позволяют объективно оценить, что именно перестало работать (в какой мере сокращена двигательная способность и искажена норма), а также контролировать динамику восстановления. Каждый человек должен знать свой постуральный статус, свой постуральный синдром: где в теле произошли функциональные нарушения; стадию поражения; степень возможной коррекции.
Аппаратура, применяемая в нашем Центре вместе с другими методами, дает максимально точную информацию. Подобной в стране и мире нет нигде. Так же точно мы можем прогнозировать результаты терапии. Как это работает? Условно говоря, после ряда тестов, пройденных вами на аппаратуре, выводится общий интегральный параметр, как вы себя запустили. На этой основе разрабатывается терапевтическая стратегия. Вы точно будете знать, к какому наилучшему состоянию сможете подвести свой организм, если очень постараетесь. Вряд ли это будут чемпионские показатели. Но оздоровительный эффект способен быть если не пожизненным, то весьма продолжительным. И прямо в процессе можно наблюдать динамику. Это очень мотивирует людей.
Вышеупомянутая нестабильная кибернетическая платформа выдает отклонения во всех плоскостях в точных математических величинах. И только это можно брать за основу последующего лечения, только от этого можно плясать, чтобы реально сделать для своего здоровья что-то полезное. И эта же нестабильная кибернетическая платформа и упражнения на ней — верх терапевтических мероприятий. Эта штука «научит» тело двигаться правильно относительно гравитации и несмотря на индивидуальные особенности строения выработает новые двигательные паттерны, способствующие сохранению хорошей постуры.
Замороженное депутатское плечо — наша реальность
— Однажды звонит мне большой чиновник, депутат краевого уровня, совсем не старый еще мужчина, и просит помочь, потому что у него все болит, — делится Юрий Иванович опытом из своей обширной практики. — Я смотрю на него (благо технологии позволяют теперь общаться на расстоянии), а у него весь хребет искривлен, отчего пошли функциональные осложнения верхних и нижних конечностей (плечелопаточный переартроз, в народе больше известный как «синдром замороженного плеча», коксартроз). Ему можно помочь, если он сам найдет для себя время.
Руководить страной надо хорошо действующими руками. Ни в каких случаях невозможно помочь человеку без его активного участия. Волшебной пилюли нет. Но есть возможность пройти качественную диагностику, от которой потом будет зависеть качественное лечение. И самому с собой много работать. Здоровье — это не только технологии и грамотный врач, это регулярный труд самого человека, его ежедневная и действенная забота о себе. Надо работать с хиропрактиком-реабилитологом, массажистом, инструктором (желательно все одновременно).
— Беда еще и в том, что за всю свою деятельность я ни разу не встретил специалистов, владеющих нужной хиропрактической техникой, точность и эффективность которой тоже можно объективно измерить с помощью медицинских тренажеров, — продолжает Юрий Колягин. — Приезжали ко мне в клинику за последние годы около 100 коллег. Никто из них не смог продемонстрировать корректной толчковой манипуляции — это регулируемая, мягкотканная, высокоскоростная низкоамплитудная техника, являющаяся базовой в хиропрактике. Этому, конечно, нужно учиться годы, а может, всю жизнь. Я замерил их работу на своем тренажере и ахнул. Брак составляет тысячи процентов! Представьте такой вред в промышленности! Катастрофа. Не сомневайтесь, в медицине мы тоже имеем катастрофу.
Хиропрактика, постурология — остаются пока неизвестными науками, хотя именно их следует в первую очередь знать. В работе врача должен преобладать научный подход, основанный на всестороннем аппаратном измерении, точных исследованиях и научной доказанности. Наука для того и существует, чтобы ее достижениями люди пользовались как в диагностике, так и в терапии. Последние достижения науки и вашего покорного слуги, в том числе, говорят о том, что степень вашего самочувствия зависят не от величины грыжи, а от масштабов постурального дефицита. И насколько мы сумеем скорректировать СПД, настолько люди будут лучше себя чувствовать, тем самым улучшив качество и продолжительность своей жизни. А она полностью зависит от коррекции этого синдрома.
…Будем надеяться, что время, прогресс и здравый смысл на стороне Юрия Колягина, который, правда, постоянно обгоняет свое время и, как паровоз, без устали толкает нас вперед вот уже 30 лет… Именно столько исполняется на днях его клинике. От души поздравляем с этим юбилеем неугомонного ученого, изобретателя, вдумчивого врача-хиропрактика!

